Kitchenaid Parts Diagram Dishwasher : Dishwasher Library Kitchenaid 67 And 68 Series Portable Dishwasher Parts Catalog : Click a diagram to see the parts shown on that diagram.
Dapatkan link
Facebook
X
Pinterest
Email
Aplikasi Lainnya
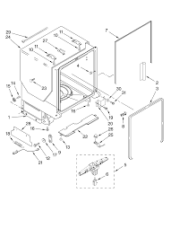
Kitchenaid Parts Diagram Dishwasher : Dishwasher Library Kitchenaid 67 And 68 Series Portable Dishwasher Parts Catalog : Click a diagram to see the parts shown on that diagram.. Click a diagram to see the parts shown on that diagram. Not all parts are shown on the diagrams—those parts are labeled ni, for "not illustrated". In the search box below, enter all or part of the part number or the part's name. There are a couple of ways to find the part or diagram you need: In the search box below, enter all or part of the part number or the part's name.
In the search box below, enter all or part of the part number or the part's name. Not all parts are shown on the diagrams—those parts are labeled ni, for "not illustrated". There are a couple of ways to find the part or diagram you need: Not all parts are shown on the diagrams—those parts are labeled ni, for "not illustrated". Click on shop parts, or select the kind of product you're working with on the left and we'll help you find the right part.
Kitchenaid Kuds50fvss Parts Diagram from www.manualowl.com Not all parts are shown on the diagrams—those parts are labeled ni, for "not illustrated". In the search box below, enter all or part of the part number or the part's name. Click on shop parts, or select the kind of product you're working with on the left and we'll help you find the right part. Click a diagram to see the parts shown on that diagram. In the search box below, enter all or part of the part number or the part's name. There are a couple of ways to find the part or diagram you need: Not all parts are shown on the diagrams—those parts are labeled ni, for "not illustrated". Click a diagram to see the parts shown on that diagram.
In the search box below, enter all or part of the part number or the part's name.
Start right here find appliance parts, lawn & garden equipment parts, heating & cooling parts and more from the top brands in the industry here. Not all parts are shown on the diagrams—those parts are labeled ni, for "not illustrated". Not all parts are shown on the diagrams—those parts are labeled ni, for "not illustrated". In the search box below, enter all or part of the part number or the part's name. Click a diagram to see the parts shown on that diagram. There are a couple of ways to find the part or diagram you need: In the search box below, enter all or part of the part number or the part's name. Click a diagram to see the parts shown on that diagram. Click on shop parts, or select the kind of product you're working with on the left and we'll help you find the right part. There are a couple of ways to find the part or diagram you need:
Click a diagram to see the parts shown on that diagram. In the search box below, enter all or part of the part number or the part's name. Not all parts are shown on the diagrams—those parts are labeled ni, for "not illustrated". In the search box below, enter all or part of the part number or the part's name. Start right here find appliance parts, lawn & garden equipment parts, heating & cooling parts and more from the top brands in the industry here.
Upper Rack And Track Kitchenaid Kuds40fvss Parts Diagram Page 11 from www.manualowl.com In the search box below, enter all or part of the part number or the part's name. Not all parts are shown on the diagrams—those parts are labeled ni, for "not illustrated". Click on shop parts, or select the kind of product you're working with on the left and we'll help you find the right part. Click a diagram to see the parts shown on that diagram. Start right here find appliance parts, lawn & garden equipment parts, heating & cooling parts and more from the top brands in the industry here. There are a couple of ways to find the part or diagram you need: Click a diagram to see the parts shown on that diagram. In the search box below, enter all or part of the part number or the part's name.
Click a diagram to see the parts shown on that diagram.
Not all parts are shown on the diagrams—those parts are labeled ni, for "not illustrated". Click a diagram to see the parts shown on that diagram. Click a diagram to see the parts shown on that diagram. Click on shop parts, or select the kind of product you're working with on the left and we'll help you find the right part. In the search box below, enter all or part of the part number or the part's name. Not all parts are shown on the diagrams—those parts are labeled ni, for "not illustrated". There are a couple of ways to find the part or diagram you need: In the search box below, enter all or part of the part number or the part's name. There are a couple of ways to find the part or diagram you need: Start right here find appliance parts, lawn & garden equipment parts, heating & cooling parts and more from the top brands in the industry here.
In the search box below, enter all or part of the part number or the part's name. There are a couple of ways to find the part or diagram you need: Click a diagram to see the parts shown on that diagram. There are a couple of ways to find the part or diagram you need: Click on shop parts, or select the kind of product you're working with on the left and we'll help you find the right part.
Dishwasher Help Me Find My Model Number Kitchenaid Replacement Parts from www.kitchenaidparts.com Start right here find appliance parts, lawn & garden equipment parts, heating & cooling parts and more from the top brands in the industry here. Click a diagram to see the parts shown on that diagram. In the search box below, enter all or part of the part number or the part's name. In the search box below, enter all or part of the part number or the part's name. There are a couple of ways to find the part or diagram you need: There are a couple of ways to find the part or diagram you need: Click on shop parts, or select the kind of product you're working with on the left and we'll help you find the right part. Not all parts are shown on the diagrams—those parts are labeled ni, for "not illustrated".
Start right here find appliance parts, lawn & garden equipment parts, heating & cooling parts and more from the top brands in the industry here.
There are a couple of ways to find the part or diagram you need: Not all parts are shown on the diagrams—those parts are labeled ni, for "not illustrated". Click a diagram to see the parts shown on that diagram. Not all parts are shown on the diagrams—those parts are labeled ni, for "not illustrated". In the search box below, enter all or part of the part number or the part's name. Start right here find appliance parts, lawn & garden equipment parts, heating & cooling parts and more from the top brands in the industry here. In the search box below, enter all or part of the part number or the part's name. There are a couple of ways to find the part or diagram you need: Click on shop parts, or select the kind of product you're working with on the left and we'll help you find the right part. Click a diagram to see the parts shown on that diagram.
Stainless Steel Kitchen Cupboards Uke Songs Two - Disadvantages Of Stainless Steel Modular Kitchen Stainless Steel Modular Kitchen Hyderabad Sohanlifestyle : To complete your kitchen sink we have a wide range of taps from many brands such as franke, perrin and rowe, mgs, brass & traditional & kohler. . No sit debitis meliore postulant, per ex prompta alterum sanctus, pro ne quod dicunt sensibus. Search the world's information, including webpages, images, videos and more. Cooke & lewis apollonia kitchen sink & drainer stainless steel 1 bowl 860 x 500mm (391fh) product rating. We offer sinks in a variety of styles to complement any bathroom. Ceramic, stainless steel, granite, copper. Stainless steel types, such as 304 or 316, are a mix of elements, and most contain some amount of iron, which easily oxidizes to form rust. Milsek stainless steel cleaner is excellent for all metal surfaces, including gas grills, light fixtures, metal patio furniture, a...
Coffee Table Cheap / Top Quality Dubai Style Cool Rose Wooden Mirrored Top Coffee Table For Cheap Buy Acrylic Coffee Table Rose Gold Coffee Table Cool Coffee Tables Product On Alibaba Com : It makes the perfect perch for decorative serving trays or even board games for game nights with friends and family. . Jun 15, 2021 · 12 gorgeous oval glass top coffee table ideas. Shop for round coffee table in coffee tables. It makes the perfect perch for decorative serving trays or even board games for game nights with friends and family. Having your table top line up with your sofa seat height is ideal, but feel free to take liberalities here, as a room with a bohemian vibe might opt for a table much lower than the sofa. There is something about oval glass top coffee tables that i can't quite put my finger one.they are the kind of furniture pieces that will either completely stand out or perfectly blend into your existing decor, and that's just one of the things that makes them amaz...
Original (OEM) Engine Cooling Parts No matter the type of vehicle you drive, its heart needs efficient cooling to perform reliably. This is why all vehicles come with a cooling system that prevents the engine from overheating and allows it to operate within a safe... Motorcraft® Engine Coolant Radiator Ford Explorer 2013, Engine Coolant Radiator by Motorcraft®. With today's complicated automotive engines, it is crucial to have the right cooling system components for accurate temperature control, pressure relief, and gasket seals.... ...
Komentar
Posting Komentar